
中信金属(601061)3月27日披露2023年年报。2023年,公司实现营业总收入1249.99亿元,同比增长4.89%;归母净利润20.57亿元,同比下降7.13%;扣非净利润19.66亿元,同比增长34.88%;经营活动产生的现金流量净额为4.45亿元,同比增长761.30%;报告期内,中信金属基本每股收益为0.43元,加权平均净资产收益率为12.02%。公司2023年年度利润分配预案为:拟向全体股东每10股派1.5元(含税)。



以3月26日收盘价计算,中信金属目前市盈率(TTM)约为18.84倍,市净率(LF)约为2.03倍,市销率(TTM)约为0.31倍。

公司近年市盈率(TTM)、市净率(LF)、市销率(TTM)历史分位图如下所示:



数据统计显示,中信金属近三年营业总收入复合增长率为17.56%,近三年净利润复合年增长率为21.82%。

资料显示,公司主要从事金属及矿产类大宗商品贸易和矿业投资业务。
分产品来看,2023年公司主营业务中,有色金属产品收入736.50亿元,同比增长30.82%,占营业收入的58.92%;黑色金属产品收入511.72亿元,同比下降18.13%,占营业收入的40.94%。

2023年,公司毛利率为2.32%,同比上升1.10个百分点;净利率为1.65%,较上年同期下降0.21个百分点。从单季度指标来看,2023年第四季度公司毛利率为4.00%,同比上升1.52个百分点,环比上升2.30个百分点;净利率为1.60%,较上年同期上升0.42个百分点,较上一季度上升0.09个百分点。

分产品看,有色金属产品、黑色金属产品2023年毛利率分别为1.64%、3.24%。
报告期内,公司前五大客户合计销售金额145.47亿元,占总销售金额比例为11.64%,公司前五名供应商合计采购金额300.40亿元,占年度采购总额比例为24.54%。

数据显示,2023年公司加权平均净资产收益率为12.02%,较上年同期下降5.79个百分点;公司2023年投入资本回报率为8.84%,较上年同期下降0.58个百分点。

2023年,公司经营活动现金流净额为4.45亿元,同比增长761.30%;筹资活动现金流净额18.71亿元,同比增加37.24亿元;投资活动现金流净额2555.05万元,上年同期为4.85亿元。
进一步统计发现,2023年公司自由现金流为17.99亿元,上年同期为-0.56亿元。

2023年,公司营业收入现金比为107.46%,净现比为21.62%。

营运能力方面,2023年,公司公司总资产周转率为3.00次,上年同期为3.07次(2022年行业平均值为1.87次,公司位居同行业3/14);公司应收账款周转率、存货周转率分别为38.57次、11.05次。

2023年,公司期间费用为16.23亿元,较上年同期增加7169.53万元;期间费用率为1.30%,较上年同期持平。其中,销售费用同比下降11.02%,管理费用同比下降5.24%,研发费用同比增长32.95%,财务费用同比增长9.57%。

资产重大变化方面,截至2023年年末,公司货币资金较上年末增加99.83%,占公司总资产比重上升5.71个百分点;长期应收款较上年末减少70.49%,占公司总资产比重下降1.91个百分点;应收账款较上年末减少6.55%,占公司总资产比重下降1.56个百分点;预付款项较上年末减少11.63%,占公司总资产比重下降1.29个百分点。

负债重大变化方面,截至2023年年末,公司应付票据较上年末增加133.93%,占公司总资产比重上升2.62个百分点;短期借款较上年末增加16.20%,占公司总资产比重上升0.34个百分点;长期借款较上年末减少20.14%,占公司总资产比重下降3.00个百分点;租赁负债较上年末减少99.42%,占公司总资产比重下降1.77个百分点。

从存货变动来看,截至2023年末,公司存货账面价值为119.77亿元,占净资产的62.65%,较上年末增加18.51亿元。其中,存货跌价准备为2483.66万元,计提比例为0.21%。

2023年全年,公司研发投入金额为2841.72万元;研发投入占营业收入比例为0.02%。此外,公司全年研发投入资本化率为0。


在偿债能力方面,公司2023年年末资产负债率为57.03%,相比上年末下降7.11个百分点;有息资产负债率为33.27%,相比上年末下降3.26个百分点。

2023年,公司流动比率为1.17,速动比率为0.62。

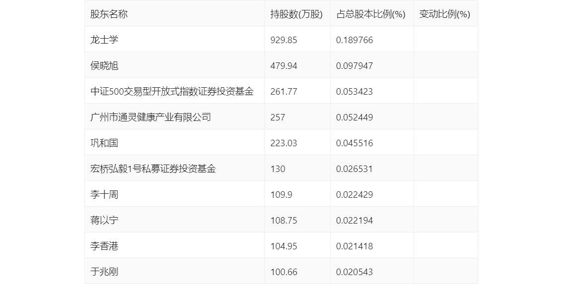
年报显示,2023年末的公司十大流通股东中,新进股东为中证500交易型开放式指数证券投资基金、巩和国、宏桥弘毅1号私募证券投资基金、于兆刚,取代了三季度末的施振翔、罗国波、康雪红、潘镇涛。在具体持股比例上,龙士学、侯晓旭、李十周、蒋以宁、李香港持股有所上升。

筹码集中度方面,截至2023年年末,公司股东总户数为13.07万户,较三季度末下降了1.83万户,降幅12.30%;户均持股市值由三季度末的26.23万元上升至28.90万元,增幅为10.18%。

指标注解:
市盈率
=总市值/净利润。当公司亏损时市盈率为负,此时用市盈率估值没有实际意义,往往用市净率或市销率做参考。
市净率
=总市值/净资产。市净率估值法多用于盈利波动较大而净资产相对稳定的公司。
市销率
=总市值/营业收入。市销率估值法通常用于亏损或微利的成长型公司。
文中市盈率和市销率采用TTM方式,即以截至最近一期财报(含预报)12个月的数据计算。市净率采用LF方式,即以最近一期财报数据计算。
市盈率为负时,不显示当期分位数,会导致折线图中断。
(文章来源:中国证券报·中证网)