

永安期货(600927)4月26日披露2024年一季报。2024年第一季度,公司实现营业总收入43.38亿元,同比下降19.12%;归母净利润7796.34万元,同比下降62.58%;扣非净利润7302.05万元,同比下降63.65%;经营活动产生的现金流量净额为-116.19亿元,上年同期为-49.94亿元;报告期内,永安期货基本每股收益为0.05元,加权平均净资产收益率为0.63%。

2024年第一季度,公司经营活动现金流净额为-116.19亿元,同比减少66.26亿元;筹资活动现金流净额-2.09亿元,同比增加1.57亿元;投资活动现金流净额-212.05万元,上年同期为-1348.43万元。
2024年第一季度,公司营业收入现金比为180.89%,净现比为-14903.60%。

资产重大变化方面,截至2024年一季度末,公司货币资金较上年末减少36.06%,占公司总资产比重下降11.04个百分点;应收货币保证金较上年末减少3.76%,占公司总资产比重上升4.29个百分点;存货较上年末增加108.55%,占公司总资产比重上升2.53个百分点;交易性金融资产较上年末减少11.09%,占公司总资产比重上升1.44个百分点。

负债重大变化方面,截至2024年一季度末,公司应付货币保证金较上年末减少24.59%,占公司总资产比重下降4.63个百分点;应付票据较上年末减少57.04%,占公司总资产比重下降1.14个百分点;其他应付款(含利息和股利)较上年末减少13.04%,占公司总资产比重上升0.69个百分点;交易性金融负债合计较上年末减少30.72%,占公司总资产比重下降0.25个百分点。

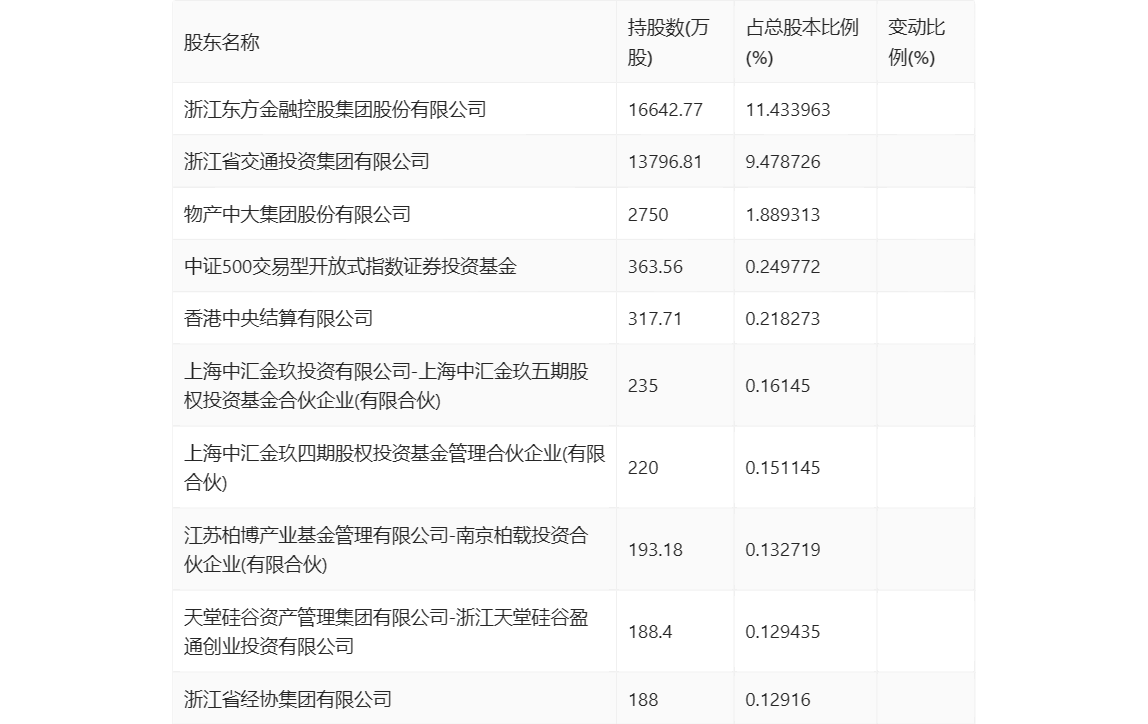
一季报显示,2024年一季度末公司十大流通股东中,新进股东为江苏柏博产业基金管理有限公司-南京柏载投资合伙企业(有限合伙)、天堂硅谷资产管理集团有限公司-浙江天堂硅谷盈通创业投资有限公司、浙江省经协集团有限公司,取代了上年末的国金量化多策略灵活配置混合型证券投资基金、国金量化多因子股票型证券投资基金、国金量化精选混合型证券投资基金。在具体持股比例上,中证500交易型开放式指数证券投资基金持股有所上升,香港中央结算有限公司持股有所下降。

筹码集中度方面,截至2024年一季度末,公司股东总户数为3.91万户,较上年末下降了1084户,降幅2.70%;户均持股市值由上年末的56.97万元下降至49.79万元,降幅为12.60%。
